РЛНД-1-10-200 УХЛ1
Разъединители наружной установки типа РЛНД на напряжение 10 кВ предназначены для включения и отключения под напряжением участков электрической цепи высокого напряжения при отсутствии нагрузочного тока, а также заземления отключенных участков линий при помощи стационарных - заземляющих ножей, при их наличии.
Разъединитель изготовляется в исполнении УХЛ категория 1 для работы на высоте до 1000 м вал уровнем моря при температуре окружающего воздуха от -40 град.С до +40 град.С и скоростью ветра без гололеда до 30 м/сек.
Длина пути утечки внешней изоляции составляет 30 см.
Основные технические данные разъединителей РЛНД-1-10-200 УХЛ1, РЛНД-1-10-400 УХЛ1, РЛНД-1-10-630 УХЛ1 приведены в таблице:
|
Наименование параметра |
Значение параметра для типов разъединителей |
||
|
РЛНД-1-10-200 УХЛ1 |
РЛНД-1-10-400 УХЛ1 |
РЛНД-1-10-630 УХЛ1 |
|
|
Номинальное напряжение, кВ |
10 |
||
|
Наибольшее рабочее напряжение, кВ |
12 |
||
|
Номинальный ток, А |
200 |
400 |
630 |
|
Ток электродинамической стойкости, кА |
25 |
25 |
25 |
|
Ток термической стойкости, кА |
10 |
10 |
10 |
|
Время протекания тока термической стойкости, с: |
|
||
|
Установленный ресурс по механической прочности, циклов ВО |
10 000 |
||
|
Длина пути утечки внешней изоляции, см, не менее |
30 |
||
|
Допустимое тяжение проводов, прикладываемое к неподвижным изоляторам, Н, не более |
200 |
||
|
Масса трехполюсного разъединителя, кг: |
|
|
|
Разъединители выпускаются в двухполюсном и трехполюсном исполнении. Изоляция разъединителя состоит из четырех или шести изоляторов, два или три из которых устанавливаются на рычагах, а остальные на швеллерах. На верхних фланцах изоляторов разъединителя установлена токоведущая система, выполненная в виде двух контактных ножей.
Общий вид, габаритные, установочные и присоединительные размеры разъединителей РЛНД-1-10-200 УХЛ1, РЛНД-1-10-400 УХЛ1, РЛНД-1-10-630 УХЛ1 с приводом и одним заземляющим ножом:

Обозначения: 1 - продольная тяга; 2 - рама; 3 - вал заземления; 4 - рычаг с валом; 5 - регулируемая тяга;
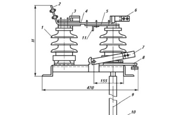
Общий вид, габаритные, установочные и присоединительные размеры разъединителей РЛНД-1-10-200 УХЛ1, РЛНД-1-10-400 УХЛ1, РЛНД-1-10-630 УХЛ1 с приводом:
Обозначения:
1 - изолятор;
2, 6 - контактные выводы;
3 - козырек;
4 - контактный нож;
5, 12 - разъемные контакты;
7 - заземлитель;
8 - рычаг;
9 - труба;
10 - блок-замок;
11 - контакт заземлителя
Труба не поставляется в комплекте!!!
Общий вид, габаритные и установочные размеры привода ПРНЗ-10 к разъединителям РЛНД-1-10-200 УХЛ1, РЛНД-1-10-400 УХЛ1, РЛНД-1-10-630 УХЛ1:

Обозначения:
1 - корпус;
2 - плоская шайба;
3 - шплинт;
4 - втулка;
5, 8 - диски управления главными ножами;
6, 7 - диски
Задать вопрос
Дополнительная вкладка, для размещения информации о магазине, доставке или любого другого важного контента. Поможет вам ответить на интересующие покупателя вопросы и развеять его сомнения в покупке. Используйте её по своему усмотрению.
Вы можете убрать её или вернуть обратно, изменив одну галочку в настройках компонента. Очень удобно.
Раздел не найден.







































































































































































































































