Электромагнит ЭМД 6122С 380В
![]() | Электромагниты (приводы) длинноходовые предназначены для применения в качестве привода для дистанционного управления различными механизмами, рабочие органы которых требуют возвратно-поступательного перемещения. Электромагниты типа ЭМД заменяют выпускаемые на Украине электромагниты МИС, ЭМ33, ЭД, ЭМ44 и по своим характеристикам и присоединительным размерам полностью им соответствуют. Отличительной особенностью электромагнитов серии ЭМД является полнее отсутствие пускового тока и повышенная степень защиты. Электромагнит ЭМД 2 изготавливается во взрывозащищённом исполнении. Маркировка взрывозащиты IExmIIT3X по ГОСТ Р51330.0 - 99 и ГОСТ Р 51330.17 - 99. Свидетельство о взрывозащищённости выдано Центром сертификации "СТВ" г. Саров Нижегородской области. Электромагниты ЭМД рассчитаны для включения в сеть постоянного или переменного тока стандартных и редко применяемых напряжений. Выводы катушки выполняются через электрический соединитель типа СЭ11-19. Климатическое исполнение У3, Т3, УХЛ4 по ГОСТ 15150. Степень защиты обычного исполнения IР30, взрывозащищённого IP67 по ГОСТ 14255. ТУ3428-008-00213575-2000. |
Основные технические параметры электромагнитов серии ЭМД
| Габарит | Номинальное напряжение питания, В | Режим работы ПВ% | Номинальное тяговое усилие, Н | Номинальный ход якоря, мм | Число циклов в час | Потребляемая мощность, не более, Вт | Время срабаты-вания, с | Время возврата, с | Масса якоря, кг | Масса, кг |
|---|---|---|---|---|---|---|---|---|---|---|
ЭМД 0 | 12; 24; 48; 110; 110 50Гц; 127 50Гц; 220 50Гц; 380 50Гц | 100; 40; 15 | 10; 15; 20 | 10 | 2400; 1200; 1200 | 25; 40; 50 | 0,25 | 0,15 | 0,1 | 0,4 |
ЭМД 1 | 100; 40; 15 | 15; 22; 30 | 15 | 2400; 1200; 1200 | 35; 56; 70 | 0,35 | 0,20 | 0,16 | 0,5 | |
ЭМД 2* | 100; 40; 15 | 18(15*); 27; 36 | 20 (15*) | 1200; 600; 600 | 45; 72; 90 | 0,45 | 0,30 | 0,21 | 0,92 | |
ЭМД 3 | 100; 40; 15 | 30; 45; 60 | 20 | 1200; 600; 600 | 55; 90; 110 | 0,5 | 0,40 | 0,32 | 1,76 | |
ЭМД 4 | 100; 40; 15 | 45; 67; 90 | 25 | 1200; 600; 600 | 65; 105; 130 | 0,65 | 0,45 | 0,56 | 3,0 | |
ЭМД 5 | 100; 40; 15 | 60; 90; 120 | 25 | 1200; 600; 600 | 75; 120; 180 | 0,65 | 0,45 | 0,73 | 5,0 | |
ЭМД 6 | 100; 40; 15 | 90; 135; 180 | 30 | 600; 300; 300 | 85; 135; 190 | 0,75 | 0,50 | 1,15 | 8,5 |
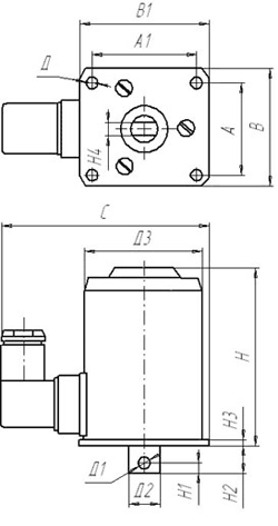
Габаритные, установочные и присоединительные размеры электромагнитов ЭМД 0...6
| Тип | Размеры, мм | ||||||||||||||||
|---|---|---|---|---|---|---|---|---|---|---|---|---|---|---|---|---|---|
| А | А1 | В | В1 | Д | Д1 | Д2 | Д3 | Д4 | Д5 | С | Н | Н1 | Н2 | Н3 | Н4 | Н5 | |
| ЭМД 0 | 42 | 46 | 52 | 58 | 5,6 | - | - | 50 | 5,3 | 12 | 90 | - | - | - | 5 | - | 75 |
| ЭМД 1 | 46 | 51 | 58 | 63 | 5,5 | 4 | 14 | 54 | 6,5 | 16 | 97 | 87 | 6 | 16 | 5 | 8 | 95 |
| ЭМД 2* | 54 | 56 | 70 | 73 | 7 | 6 | 14 | 62 | 6,5 | 33 | 110 | 95 | 6 | 16 | 5 | 8 | 105 |
| ЭМД 3 | 54 | 61 | 70 | 80 | 7 | 6 | 24 | 68 | 8 | 31 | 115 | 120 | 6 | 16 | 5 | 10 | 122 |
| ЭМД 4 | 69 | 70 | 81 | 82 | 7 | 6 | 24 | 76 | 8 | 37 | 120 | 140 | 6 | 20 | 5 | 10 | 148 |
| ЭМД 5 | 70 | 85 | 90 | 100 | 7 | 6 | 24 | 89 | 8 | 37 | 130 | 143 | 6 | 20 | 5 | 10 | 151 |
| ЭМД 6 | Размер указан на габаритном чертеже | ||||||||||||||||
Маркировка взрывозащиты IExmIIT3X по ГОСТ Р51330.0 - 99 и ГОСТ Р51330.17 - 99
Свидетельство о взрывозащищённости выдано Центром сертификации "СТВ" г. Саров Нижегородской области .
Во взрывозащищенном исполнении ЭМД-2 делаются только на пост. ток 24В с гибким выводом 3м по умолчанию.
| тянущего исполнения | толкающего исполнения | |
|---|---|---|
![]() | ![]() |
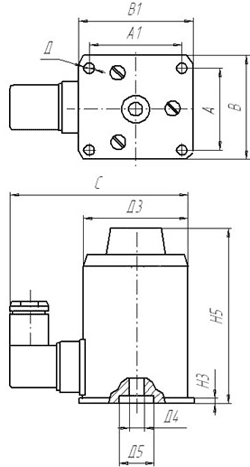
Электромагниты ЭМД 6
| тянущего исполнения | толкающего исполнения | |
|---|---|---|
![]() | ![]() |
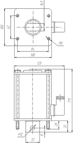
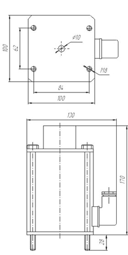
Электромагнит ЭМД 2 Вз

Таблица соответствия для замены электромагнитами ЭМД
электромагнитов серий МИС, ЭМ44, ЭМ33, ЭД
| Основание МИС | Основание ЭМ33 | |||
|---|---|---|---|---|
| ЭМД 0 | МИС 0 | - | ЭМ33 - 2 | ЭД03 |
| ЭМД 1 | МИС 1 | - | ЭМ33 - 3 | ЭД04 |
| ЭМД 2 | МИС 2 | ЭМ44 - 31 | ЭМ33 - 4 | ЭД05 |
| ЭМД 3 | МИС 3 | ЭМ44 - 32 | ЭМ33 - 5 | ЭД06 |
| ЭМД 4 | МИС 4 | ЭМ44 - 33 | ЭМ33 - 6 | ЭД07 |
| ЭМД 5 | МИС 5 | - | ЭМ33 - 7 | ЭД08 |
| ЭМД 6 | МИС 6 | ЭМ44 - 37 | ЭМ33 - 8 | ЭД09 |
Структура условного обозначения электромагнитов ЭМД
ЭМД 1 1 1 1 С УХЛ4
| ЭМД | Обозначение серии электромагнита |
|---|---|
| 1 | Цифра. Условное обозначение габарита электромагнита: 1; 2; 3; 4; 5; 6. |
| 1 | Цифра. Условное обозначение исполнения по способу воздействия на исполнительный механизм: 1 - тянущее исполнение; 2 - толкающее исполнение |
| 1 | Цифра. Условное обозначение рода тока: 1 - постоянный; 2 - переменный. |
| 1 | Цифра. Условное обозначение режима работы (относительной продолжительности включения, %): 0 - ПВ100%; 1 – ПВ15%; 2 – ПВ40%. |
| С | Буква. Условное обозначение исполнения выводов катушки: М - гибким выводом; С - соединителем электрическим СЭ11-19; П - соединителем электрическим 2РМГ. |
| УХЛ4 | Буквы и цифра. Условное обозначение климатического исполнения и категории размещения по ГОСТ 15150: У3; Т3; УХЛ4. |
Цифры. Условное обозначение исполнения по присоединительным размерам электромагнита: 33 - присоединительные размеры электромагнитов серии ЭМ 33; без цифр - стандартные присоединительные размеры согласно чертежа. | |
Буквы. Условное обозначение взрывозащищённого исполнения для ЭМД 2: Вз - взрывозащищённое исполнения; без буквы - общепромышленное исполнение |
Наши квалифицированные специалисты обязательно вам помогут.
Задать вопрос
Дополнительная вкладка, для размещения информации о магазине, доставке или любого другого важного контента. Поможет вам ответить на интересующие покупателя вопросы и развеять его сомнения в покупке. Используйте её по своему усмотрению.
Вы можете убрать её или вернуть обратно, изменив одну галочку в настройках компонента. Очень удобно.
- Рекомендуем
-
Арматура светосигнальная
-
Выключатель автоматический
- Выключатель автоматический серии Schneider
- Выключатель автоматический серии А
- Выключатель автоматический серии АВ2М
- Выключатель автоматический серии АЕ
- Выключатель автоматический серии АП
-
Выключатель автоматический серии ВА
- Выключатель автоматический ВА 47-29 2 полюса
- Выключатель автоматический ВА 47-29 3 полюса
- Выключатель автоматический ВА 47-29 ПЭТ
- Выключатель автоматический ВА 04-36
- Выключатель автоматический ВА 21-29
- Выключатель автоматический ВА 50-41
- Выключатель автоматический ВА 50-43
- Выключатель автоматический ВА 51-25, ВА 51Г-25
- Выключатель автоматический ВА 51-35, ВА 52-35
- Выключатель автоматический ВА 51-39, ВА 52-39
- Выключатель автоматический ВА 52-37, ВА 52-38
- Выключатель автоматический ВА 57-31
- Выключатель автоматический ВА 57-35, ВА 57ф-35
- Выключатель автоматический ВА 57-39
- Выключатель автоматический серии ДЭК
- Выключатель автоматический серии Э (электрон)
- Выключатель автоматический серии АВМ
-
Выключатель конечный (путевой)
-
Выключатель пакетный
-
Гидротолкатель
-
Звонки
-
Изолента
-
Изоляторы
- Изоляторы армированные фарфоровые
-
Изоляторы неармированные фарфоровые
- Покрышки для высоковольтных вводов
- Покрышки для выключателей воздушных
- Изоляторы для выключателей и разных установок
- Изоляторы и покрышки для конденсаторов
- Изоляторы проходные для трансформаторных вводов
- Изоляторы проходные подстанционные
- Изоляторы для концевых кабельных муфт
- Изоляторы для силовых трансформаторов
- Изоляторы для электрофильтров
- Изоляторы для электротранспорта
- Изоляторы для пусковых сопротивлений электровозов
- Изоляторы для комплектных распределительных устройств
- Изоляторы для турбогенераторов
- Колодки для печей серии ПЭТ
- Изоляторы для разных установок
- Изоляторы для радио и связи
- Трубки для предохранителей
- Изоляторы для электролизера
- Изоляторы и покрышки для конденсаторов
- Изоляторы керамические электротехнические термостойкие
- Низковольтные изоляторы
-
Инструмент
-
Кабель, провод, тара
- Витая пара (Кабель компьютерный)
- Кабель бронированный АВБбШв, ВБбШв, КВБбШв
- Кабель водопогружной
- Кабель гибкий экранированный КГВЭВ, КГВЭВнг
- Кабель городской телефонной связи ТППэп
- Кабель контрольный КВВГ, КВВГнг, КВВБГ,КВВГзнг
- Кабель радиочастотный РК
- Кабель сварочный КОГ1, ПУН
- Кабель сигнально-блокировочный СБВГ
- Кабель силовой ААШв
- Кабель силовой гибкий, негорючий КПГСН
- Кабель силовой с пластмассовой изоляцией ВВГ, АВВГ
- Кабель силовой с поясной изоляцией NYM
- Кабель силовой с резиновой изоляцией ВРГ
- Кабель силовой с резиновой изоляцией КГ, Кгхл
- Кабель силовой шланговый, гибкий РПШ
- Кабель управления КУПЭВ
- Провод автомобильный
- Провод АППВ
- Провод взрывной
- Провод МКЭШ
- Провод ПАЛ, АС
- Провод прогревочный
- Провод с поливинилхлоридной изоляцией АПВ,ПВ, ППВ
- Провод самонесущий изолированный СИП
- Провод телефонный, витая пара ТРП, ТРВ, П-274м
- Провод установочный плоский ПУНП, ПУГНП
- Провод шланговый ПВС, ПРС, ШВВП, ППВ
- Тара
- Эмальпровод ПЭТВ-1, ПЭТВ-2, ПСДКТ, ПЭТ-155
-
Катушки к контакторам, пускателям и магнитам
-
Клеммы, колодки
-
Кнопка, пост кнопочный
-
Командоаппарат, контроллер
-
Контактор
-
Контакты для контакторов и пускателей
-
Лампа
- Датчик движения, индикатор
- Лампа галогенная HL, HS, HR, JSDR, JCD
- Лампа кварцево-галогенная
- Лампа люминесцентная ЛБ, ЛД, TLD
- Лампа металлогалогенная
- Лампа накаливания Б 220, SA, РН
- Лампа накаливания декоративная SB, SC, SR
- Лампа накаливания местного освещения МО
- Лампа ртутная ДРЛ
- Лампа энергосберегающая Ecola
- Лампа энергосберегающая KK, CE
- Стартер, дроссель, трансформ.
-
Лифтовое оборудование
-
Метизы, крепеж
-
Переключатели
- Прочее
-
Пускатель электромагнитный
-
Разрядник
-
Разъем кабельный
-
Реле и датчики
-
Рубильники, разъединители
-
Рудничное
-
Светильник
- Люстры, бра, торшеры, настольные лампы
- Ночник, часы
- Плафон, патрон-основание
- Прожектор
- Светильник Viromax
- Светильник VITO. LUNA. LINE
- Светильник акцентного освещения
- Светильник ВЗГ
- Светильник встраиваемый потолочный
- Светильник люминесцентный ЛПО,ЛСП
- Светильник мебельный
- Светильник накладной потолочный
- Светильник НББ, НСП, ПСХ, НПП
- Светильник наружного освещения РКУ (консольный)
- Фонарь
- Строительные услуги
-
Счетчик электроэнергии
-
Теплые полы
-
Токоприемники
-
Тормоз колодочный
-
Трансформатор тока
- Датчик тока ДТ-0,66
- Трансформатор тока Т 0,66
- Трансформатор тока ТЛ-10-I У3
- Трансформатор тока ТЛК-10
- Трансформатор тока ТЛМ-10
- Трансформатор тока ТЛШ-10 У3
- Трансформатор тока ТЛШ-10-1 У3
- Трансформатор тока ТЛШ-10-5 У3
- Трансформатор тока ТНШ 0,66 У3
- Трансформатор тока ТНШЛ 0,66 У2
- Трансформатор тока ТОЛ-10 УХЛ2.1
- Трансформатор тока ТОЛ-10-I-1 (-2) У2
- Трансформатор тока ТОЛ-10-I-3 (-4) У2
- Трансформатор тока ТОЛ-10-I-5 (-6) У2
- Трансформатор тока ТОЛ-10-I-7 (-8) У2, 3-х обмот.
- Трансформатор тока ТОЛ-35-III-II УХЛ1
- Трансформатор тока ТОЛК-10 05.1
- Трансформатор тока ТОЛК-6 05.1
- Трансформатор тока ТОП 0,66 У3
- Трансформатор тока ТПЛ-10-М У2
- Трансформатор тока ТПЛ-20 УХЛ2
- Трансформатор тока ТПЛ-35 УХЛ2
- Трансформатор тока ТПЛК-10 У3
- Трансформатор тока ТПОЛ-10 У3
- Трансформатор тока ТПОЛ-10-1 У3
- Трансформатор тока ТПОЛ-10-3 У3
- Трансформатор тока ТФЗМ
- Трансформатор тока ТШЛ 0,66 У3
- Трансформатор тока ТШЛ-10 УТ3
- Трансформатор тока ТШЛ-20-I УХЛ2
- Трансформатор тока ТШЛП-10 УТ3
- Трансформатор тока ТШП 0,66 У3
- Трансформатор тока нулевой последовательности
- Трансформатор ТСЗИ
- Трансформатор ТСМ
-
Трансформатор, стабилизатор
- Автотрансформатор АОСН
- Лабораторный трансформатор
- Силовой трансформатор
-
Стабилизатор
- Трансформатор напряжения
-
Трансформатор ОСМ
- Трансформатор понижающий ОСМ1 63 Вт
- Трансформатор понижающий ОСМ1 100 Вт
- Трансформатор понижающий ОСМ1 160 Вт
- Трансформатор понижающий ОСМ1 250 Вт
- Трансформатор понижающий ОСМ1 400 Вт
- Трансформатор понижающий ОСМ1 630 Вт
- Трансформатор понижающий ОСМ1 1000 Вт
- Трансформатор понижающий ОСМ1 1600 Вт
- Трансформатор понижающий ОСМ1 2500 Вт
- Трансформатор понижающий ОСМ1 4000 Вт
- Трансформатор понижающий ОСМ1 5000 Вт
- Трансформатор ОСО
-
Трансформаторная подстанция
-
Троллеедержатель
-
Труба гофрированная
-
Тумблер
- Удлинитель, тройник, вилка
- Установочные
- Шильдики
- Щетки для электродвигателей
- Щеткодержатели к электродвигателям
-
Щитовая продукция
- Вводно-распределительное устройство ВРУ1
- Пункт распределительный ПР11
- Пункт распределительный ПР8000
- Шильдики, наклейки
- Шины и комплектующие к щитам
- Шкаф распределительный ШР11, ШРЭ
- Шкаф распределительный ШРС-1
- Щит аварийного переключения на резерв
- Щит металлический (корпус)
- Ящик с понижающим трансформатором
- Ящик управления
-
Электродвигатели
-
Преобразователи частоты
-
Устройства плавного пуска
-
Дополнительное оборудование
-
Пульты управления
-
Аксессуары
-
Опции
-
Электромагнит
- Электронагреватель
- Элементы питания
-
Ящик с рубильником
-
Металлообработка
- Перемотка двигателей
Раздел не найден.














































































