Арматура светосигнальная АС с лампой 24В красная
ОБЩИЕ СВЕДЕНИЯ
12- номер серии;
60- номинальное напряжение сети - 220 В;
X- предельная температура окружающей среды: А - 55 °С; Б - 120 °С;
X - установочный размер: 1 - 012; 7 - 12,5x34;
X - форма светового отверстия: 1 - круглая; 2 - квадратная; 3 - прямоугольная;
X - цвет светофильтра: 1 - красный; 2 -зеленый; 3 - желтый; 4 - молочно-белый;
3 - способ включения арматуры в сеть в сочетании с типом свечения - включение через добавочный резистор, постоянное свечение;
О - тип цоколя - без цоколя;
3 - способ присоединения провода к контактным зажимам - при помощи плоских втычных соединителей;
XX - степень защиты по ГОСТ 14255-69: 54 -IP54; 20 - IP20;
Х4 - климатическое исполнение (УХЛ, О) и категория размещения по ГОСТ 15150-69.
Условия эксплуатации: номинальные значения климатических факторов по ГОСТ 15150-69;
Типоисполнение | Предельная темпе- | Установочный | Форма | Цвет | Номер рисунка |
|---|---|---|---|---|---|
АС 12-60А111303-54УХЛ4 | 55 | Ø12 | Круглая | Красный | 2, а |
АС 12-60А112303-54УХЛ4 | Зеленый | ||||
АС 12-60А114303-54УХЛ4 | Желтый | ||||
АС 12-60А115303-54УХЛ4 | Молочно-белый | ||||
АС 12-60А121303-54УХЛ4 | Квадратная | Красный | 2,6 | ||
АС 12-60А122303-54УХЛ4 | Зеленый | ||||
АС 12-60А124303-54УХЛ4 | Желтый | ||||
АС 12-60А125303-54УХЛ4 | Молочно-белый | ||||
АС 12-60А731303-20УХЛ4 | 12,5x34 | Прямоугольная | Красный | 1 | |
АС 12-60А732303-20УХЛ4 | Зеленый | ||||
АС 12-60А734303-20УХЛ4 | Желтый | ||||
АС 12-60А735303-20УХЛ4 | Молочно-белый | ||||
АС 12-60Б111303-54УХЛ4 | 120 | Ø12 | Круглая | Красный | 3,а |
АС 12-60Б114303-54УХЛ4 | Желтый | ||||
АС 12-60Б115303-54УХЛ4 | Молочно-белый | ||||
АС 12-60Б121303-54УХЛ4 | Квадратная | Красный | 3,6 | ||
АС 12-60Б124303-54УХЛ4 | Желтый | ||||
АС 12-60Б125303-54УХЛ4 | Молочно-белый |
ТЕХНИЧЕСКИЕ ДАННЫЕ
Рабочий ток, Ма, не более, для арматуры с предельной температурой:
55 °С: 0,5
120°С: 1,0
Площадь световой поверхности арматуры, мм2, со светофильтром:
круглым: 177
квадратным: 225
прямоугольным: 304
Номинальный режим работы арматуры продолжительный. Арматура с предельной температурой 55 °С комплектуется сигнальными малогабаритными бесцокольными индикаторами тлеющего разряда ИН-35, ОДО.334.060 ТУ, ИГД1-Л, ОДО.334.092 ТУ с последовательно включенным в цепь индикатора резистором (200±20) кОм мощностью не менее 0,25 Вт.
Мощность, потребляемая индикатором, не более 0,118 Вт (0,125 Вт при экспорте).
Арматура с предельной температурой 120 °С комплектуется малогабаритным бесцокольным индикатором тлеющего разряда ИГД1-Р ОДО.339. 446 ТУ.
Мощность, потребляемая индикатором, не более 0,22 Вт (0,25 Вт при экспорте).
Контактные зажимы арматуры допускают присоединение одного медного провода сечением до 2,5 мм2 или двух медных проводов сечением до 1,5 мм2 при помощи розеток плоских втычных соединителей по ГОСТ 25671-83 (размер вилки 6,3x0,8 мм) или одного медного провода сечением до 0,75 мм2 при помощи пайки.
Гарантийный срок эксплуатации для внутригосударственных поставок - 2,5 года со дня ввода в эксплуатацию, но не более 3 лет с момента поставки арматуры в составе бытовых электроприборов в розничную торговую сеть.
Гарантийный срок эксплуатации арматуры, поставляемой на экспорт, - 2,5 года со дня ввода ее в эксплуатацию, но не более 3 лет с момента проследования через государственную границу.
КОНСТРУКЦИЯ И ПРИНЦИП ДЕЙСТВИЯ
![]() Рис. 1. Общий вид, габаритные, установочные и присоединительные размеры арматуры с предельной температурой 55 °С с прямоугольным светофильтром | Арматура с предельной температурой 55 °С с прямоугольным светофильтром (рис. 1) состоит из пластмассового корпуса, в котором устанавливается индикатор тлеющего разряда, последовательно соединенный с резистором. Индикатор и резистор до установки в корпус припаиваются к стойкам, представляющим собой вилочную часть стандартизованного плоского втычного соединителя. После установки в корпус соединенных между собой пайкой резистора, индикатора и стоек последние путем разворота с наружной части корпуса жестко фиксируются. Светофильтр прямоугольной формы крепится в корпусе за счет упругих свойств материала с помощью специальных защелок. |
|---|---|
![]() Рис. 2. Общий вид, габаритные, установочные и присоединительные размеры арматуры с предельной температурой 55 °С: а - с круглым светофильтром; б - с квадратным светофильтром | ![]() Рис. 3. Общий вид, габаритные, установочные и присоединительные размеры арматуры с предельной температурой 120 °С: а - с круглым светофильтром; б - с квадратным светофильтром |
Общий вид, габаритные, установочные и присоединительные размеры арматуры указаны на рис. 1-3.
Размеры установочного отверстия на панели для установки арматуры с круглым и квадратным светофильтрами приведены на рис. 4, а арматуры с прямоугольным светофильтром составляют 12,5x34.
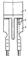
Присоединение розетки плоского втычного соединителя показано на рис. 5.
![]() Рис. 4. Установочное отверстие в панели для установки арматуры с круглым и квадратным светофильтром. | ![]() Рис. 5. Подсоединение розетки плоского втычного соединителя при монтаже арматуры: 1 - арматура; 2 - вилка плоского втычного соединителя; 3 - розетка плоского втычного соединителя |
Задать вопрос
Дополнительная вкладка, для размещения информации о магазине, доставке или любого другого важного контента. Поможет вам ответить на интересующие покупателя вопросы и развеять его сомнения в покупке. Используйте её по своему усмотрению.
Вы можете убрать её или вернуть обратно, изменив одну галочку в настройках компонента. Очень удобно.
Раздел не найден.














































































